Наука и Образование

На базе трёх образовательных организаций Белгородского района в 2022 году открылись «Точки роста»

На базе трёх образовательных организаций Белгородского района в 2022 году открылись «Точки роста»

Новые центры образования цифрового и гуманитарного профилей заработали в Беломестненской, Весёлолопанской и Тавровской школах.

Власти продлили программу бесплатного обучения востребованным профессиям на 2023 и 2024 годы

Власти продлили программу бесплатного обучения востребованным профессиям на 2023 и 2024 годы

Фото: pxhere.com Теперь ещё 242 тысячи человек смогут получить новую профессию или пройти переподготовку.

Состоялась рабочая встреча Президента РФ с Министром науки и высшего образования

Состоялась рабочая встреча Президента РФ с Министром науки и высшего образования

Валерий Фальков доложил Владимиру Путину о реализации программы по научному приборостроению, а также мерах поддержки и вовлечении талантливой молодёжи в сферу исследований и разработок.

Викторина «Путешествие по сказкам»

Викторина «Путешествие по сказкам»

Зимние каникулы самые волшебные и сказочные, потому что новогодние. Детвора ожидает чуда, подарков, развлечений.

Вспоминая новогодние традиции прошлого

Вспоминая новогодние традиции прошлого

Преподаватели педагогического института НИУ «БелГУ» приняли участие в интерактивной игре «Новый 1943 год» в музее-диораме.

Губкинские пенсионеры посетили занятие по рисованию песком «Зимнее чудо»

Губкинские пенсионеры посетили занятие по рисованию песком «Зимнее чудо»

Фото: Губкинский Комплексный центр социального обслуживания населения Они смогли проявить своё творчество и фантазию.

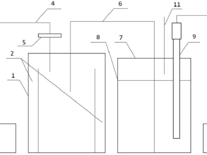
Учёные НИУ «БелГУ» разработали устройство для оценки интенсивности дыхания микробной культуры

Учёные НИУ «БелГУ» разработали устройство для оценки интенсивности дыхания микробной культуры

Сегодня в хозяйственной деятельности и ряде научных отраслей широко применяется метод поверхностного культивирования микробной культуры - когда орг