Учёные НИУ «БелГУ» разработали устройство для оценки интенсивности дыхания микробной культуры
Сегодня в хозяйственной деятельности и ряде научных отраслей широко применяется метод поверхностного культивирования микробной культуры - когда орг
Изобретение может быть полезным в сельском хозяйстве и экомониторинге
Сегодня в хозяйственной деятельности и ряде научных отраслей широко применяется метод поверхностного культивирования микробной культуры - когда организмы искусственно выращивают на поверхности питательной среды для изучения их свойств. Такой подход помогает в дальнейшем использовать эти свойства в диагностике заболеваний, анализе микрофлоры различных объектов (пищевых продуктов, воды, воздуха), выращивании полезных микроорганизмов (заквасок, фермента, белка), а также утилизации ряда твердых отходов производств.
Однако, чтобы использовать этот метод в биотехнологии, микробиологии, агрохимии, требуется инструмент оценки роста популяции микроорганизмов.
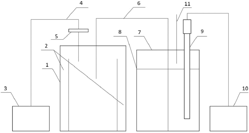
По словам профессора кафедры биотехнологии и микробиологии НИУ «БелГУ», доктор биологических наук Инны Соляниковой , в процессе дыхания микроорганизмы выделяют углекислый газ, интенсивность его выделения напрямую отражает рост микробной культуры в аэробных (где присутствует кислород) условиях. Измерение объема углекислого газа может дать ценную информацию о том, как проходит культивирование. Поэтому необходим контроль над процессом, а также исследование различных факторов, влияющих на микробную культуру.
В настоящее время имеются датчики измерения концентрации углекислого газа зарубежного производства, однако они отличаются риском заражения микробной культуры, сложностью и длительностью исполнения. Предложенное учёными НИУ «БелГУ» устройство можно применять в любой испытательной лаборатории с использованием слабого раствора щелочи и рН метра. Это значительно упрощает проектирование и проведение испытаний.
- Разработанное нами устройство контролирует рост микробной культуры при поверхностном культивировании, не требуя отбора культуральной жидкости. Оно просто в использовании и сводит к минимуму риск заражения микробной культуры , - говорит Инна Соляникова.
Как поясняет аспирант кафедры биотехнологии и микробиологии НИУ «БелГУ» Никита Ляховченко , разработка позволит получать информацию о культуре микроорганизмов в заданных условиях, что поможет получить необходимые биологически активные вещества на основе бактерий.
- В устройстве используется исходящий воздух как источник информации о ходе процесса. Все компоненты легко заменяемы и воспроизводимы. Применяемые специальные электроды для определенных газов помогут определить, насколько подобраны условия для жизнедеятельности микроба , - рассказывает Никита Ляховченко .
Изобретение выполнено в рамках госзадания (Адаптивные реакции микроорганизмов: теоретические аспекты).
информация предоставлена центром научной коммуникации и выставочной деятельностиПоследние новости
Техника молчит: как понять, что проблема в блоке питания
Узнаём первые признаки неисправности и учимся определять источник поломки без лишних затрат
Объяснение принципа работы и основные причины выхода из строя частотного преобразователя
Все, что вы хотели знать о частотниках: как они работают, зачем нужны и почему ломаются

В Белгородской области возведут мемориал «Заживо сожжённым»
Уникальный памятник культуры выполнят в виде креста из обожжённого камня, ротонды и стены памяти на месте трагических событий 1943 года в Прохоровском районе.
Куда пойти с детьми в Уфе: 10 весёлых мест на выходные
Идеи для семейного отдыха в столице Башкортостана — от активных игр до познавательных музеев